From Endless Surf – Written By Andrew Wray
When we launched Endless Surf a year or so ago. I started reflecting on WhiteWater’s rich history of making pneumatic waves (Read the history in part 1 here). Being closely involved in these projects throughout the decades, it’s amazing to see the collective progress of the many innovators within our industry. As detailed in part 1, there have been numerous projects that companies like WaveTek, ADG, Murphy’s Waves, Barr + Wray, and WhiteWater have delivered that showcase the true inner-workings of what it takes to make surf–able waves. With these projects in mind, the advancement of technology and, therefore, the artificial wave industry, has been iterative. We’ve learnt as a community what works, which brings us to where we are today, as a new industry surrounding surf parks has emerged.

Technological Turning Points
Big Surf. You’ve probably heard the name and have probably seen some vintage 70s era photography of waves breaking on a beach smack dab in the middle of the Sonoran Desert. Opening in 1969 in Tempe, Arizona and based off technology invented by Phillip Dexter, Big Surf was without a doubt, the pioneering wave pool. However, as with most industry firsts, its design did not include features that modern pools consider to be essential – particularly in the areas of wave sequencing and wave dampening. Both areas are crucial in ensuring a good surf experience (sequencing) and one that is safe (dampening).



Wave Sequencing
To make a quality rideable wave, sequencing needs to be a part of the technology. Everyone understands that no matter the technology (pneumatics, paddles, etc.), to be able to make a variety of waves requires sequencing. Some are misled to think that sequencing is a new development only seen within the modern era of surf lagoons, but wave pools around the world have been making multiple wave patterns for decades.
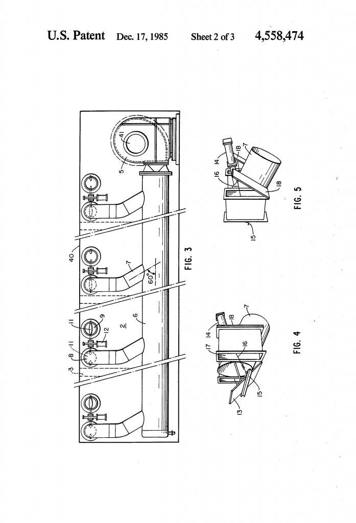
Sequencing of waves came about in the 1980s when a Dutchman named Dirk Bastenhof obtained a patent (U.S. Patent No. 4558474) for the idea of using a controller to control valves to allow independent activation of successive chambers to create different wave patterns. Bastenhof first successfully commercialized this invention in 1984 in a project with Byron Betts for a surfing wave pool in Washington state, called Enchanted Village.



Bastenhof speaks on his innovations in sequencing and the precedent that his patent set saying:
“We’ve been sequencing waves since the early 80s and built 90+ wave pools just on our end with Wavetek and ADG. 90% of them have sequential firing meaning you can select different wave patterns. Since, this technology has become the norm. Books have even been written about how to do this stuff.”

Wave Dampening
Ensuring safety, quality waves, and less pool settling time, the concept of wave dampening is critical to a wave pool’s engineering. We found this out after witnessing the backwash at Big Surf where waves would hit the beach and slosh back and forth. Such movement of the wave after breaking affected wave quality and called for a longer than desired pool settling period. At WhiteWater, we addressed these problems in two helpful ways: grating and bathymetry.
- Grating – For projects like Typhoon Lagoon we added grates just above the static water level of the beach. The grate works like a catchment system to dissipate energy as water flows onto the beach and into a trough prior to being recycled. While this use of grates successfully dampens the waves, WhiteWater implemented further measures, in the form of “islands” to control wave dampening. Each island, working in cooperation with the grates described above, helps to further dampen the wave.
- Bathymetry – Another way we’ve been dampening waves for decades is by looking underneath the water at the pool’s overall bathymetry. We looked at the mechanics of the ocean for inspiration and noted the idea of shallow reefs dissipating wave energy before the water would flow back into deeper water. Taking this concept to the pool, we were able to create a concrete “shelf” that served the same purpose within the wave pool. Our first example of this innovation worked so well at Typhoon Lagoon that it was used in all of our installations thereafter.


Inspiring Innovations of the Future
Since the 90s and early 2000s, the wave pool industry has started to take a different shape. The concept of surf parks and inland surfing is rapidly growing, and we can thank the technologies of the late 20thcentury. In particular, I think we owe a lot of credit to Dirk Bastenhof’s innovations in wave sequencing and his 474 patent. Clement Ginestet, Chief Engineer for Endless Surf says:
“This foundational element of wave pools is key for creating waves for surf parks. Similar to how smartphones changed how people use their phones, the ideas surrounding wave sequencing changed how waves are created. Making a single type of wave is one thing, but to produce surf-able quality waves like seen in the ocean, wave sequencing is how to do it.”

I even spoke with Tom Lochtefeld, inventor of the FlowRider, Founder of SurfLoch, and yet another pioneer within the artificial wave space. We reminisced on technological developments, and he pinned the 474-patent as a major milestone for the industry and for his journey in particular. As another proponent of pneumatic technology, Tom says,
“I am proud to say that Dirk Bastenhof is still charging and is an exclusive engineer to Surf Loch. The current state of our industry is a product of multiple innovations and incremental improvements through the decades. We are truly thankful to Dirk for providing us a foundation for world-class waves, both viable for surf pool developments and providing world-class experiences for surfers… and the best is still yet to come.”

All in all, the excitement of wave-making never gets dull. The same type of awe that was present as first waves rolled out at Big Surf in 1969 was at Kelly Slater’s Surf Ranch in 2015, or that will be at Endless Surf in Munich early next year. If you’re reading this, it’s probably because you are involved in the wave pool space, you are a surfer excited about surf parks, or you’re a wave science aficionado like myself. Regardless of where you fall, you get excited about moving water, and the direction that this industry is headed. Which is why I wanted to give my take on the history of wave pools and so that we can credit the pioneers for their innovations, as it undoubtedly takes a village to make waves. Plus, I am incredibly proud of what’s happening in the innovations of Endless Surf, from an all-encompassing Software Suiteallowing for flexible operations to a minimized ecological footprint that improves wave pool sustainability. It is these types of innovations that keep our industry moving forward in a direction that will continually offer what we are after – viable surf businesses, memorable experiences, and the best quality surf wave possible.



You must be logged in to post a comment Login